Product Description
Caution: EYE PROTECTION MUST BE WORN WHILE OPERATING THIS INSTRUMENT
The instrument is ready for product testing as received from the factory but several checks should be made in order to assure that none of the fittings leak when testing is being performed.
- Apply a small amount of “O” ring lubricant to the dial thermometer stem (6003) and work it up and down to lubricate the “O” ring (6008). “O” ring lubricant may be purchased from Zahm & Nagel.
- Pressurize the instrument and apply a soapy water solution to all fittings. The formation of bubbles will show any leakage and the condition can then be corrected. The instrument may also be pressurized and submersed in an aquarium filled with water and bubbles observed in this manner.
VOLUMES OF CO² GAS DISSOLVED IN WATER CHART
SOLUBILITY OF CARBON DIOXIDE IN BEER CHART – PRESSURE-TEMPERATURE RELATIONSHIPS
TO OPERATE:
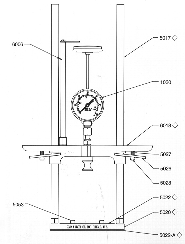
- Close the Whitey TM valve (5056) and depress the lock plates (5026) while pulling up on the cross bar (6018) to a height that will clear the top of the container being tested.
- Release the lock plates and the cross bar will remain in that position until the operator is ready to pierce the container.
- Raise the dial thermometer (6003) so that it touches the dial thermometer stop (6006).
- Place the can to be tested upside-down on the base pad (5022) and center so that the rubber seal (6013) will line up approximately in the center of the container. Bottles could be tested by piercing through the crown.
- Depress the lock plates and lower the cross bar to a point where the rubber seal just touches the top of the container.
- Continue to depress the lock plates and with both hands push the cross bar rapidly downwards until the container is pierced.
- Release the lock plates. The cross bar will remain locked in place with the rubber seal compressed to prevent leakage at the point of piercing. Be careful not to trip the lock plates after piercing as only a slight upward pressure on the lock plates will release the cross bar.
- Hold the instrument at the bottom of the base with the right hand while the left hand holds both the guide rod (5017) and the dial thermometer stop (6006). Shake the instrument with a rapid back and forth motion until maximum gauge pressure has been obtained. Record this pressure for future chart calculations of CO² gas volumes.
- Insert the dial thermometer down into the container to its fullest extent and leave it there until a steady temperature is obtained. The time required for a steady temperature reading may be thirty seconds or longer, depending on the temperature of the product being tested. Record this temperature for future chart calculations of CO² gas volumes.
Note: DO NOT record pressure readings when the dial thermometer is inserted into the container. This will cause a false pressure reading and resulting error in the number of volumes of CO² gas. - When the pressure and temperature have been recorded, refer to the correct pressure/temperature relationship chart. Be sure to refer to the correct chart when determining the volume of CO² gas. Charts for both alcoholic and non-alcoholic beverages accompany the instrument.
- After the test has been completed bleed off the pressure in the container by slowly opening the Whitey valve. To prevent the product from spraying the operator a piece of plastic tubing should be attached to the hose nipple (5057) of the Whitey valve and the product drained into a sink or suitable container.
- Withdraw the dial thermometer until it touches the dial thermometer stop.
- Depress the lock pates and raise the cross bar to clear the container.
- Close the Whitey valve and remove the container. The instrument is now ready for the next container to be tested.











